瑞爾論文
含有隔熱夾層的新型爐缸內襯與應用
高爐,長壽,陶瓷杯,炭磚,內襯,隔熱徐瑞圖 何汝生 曹永國(北京瑞爾非金屬材料有限公司)
摘 要 本文介紹了在高爐爐缸環形炭磚與陶瓷襯體之間設置隔熱夾層的新型爐缸內襯。隔熱夾層降低了環形炭磚的工作溫度,提高了陶瓷襯體的冷端溫度,同時減小了二者所承受的熱應力,消除了堿金屬對碳質材料的嚴重威脅,因此能夠獲得較傳統形式的爐缸內襯更長的使用壽命。同時,含有隔熱夾層的新型爐缸內襯的熱損失較傳統形式小,具有明顯的企業效益和社會效益。這種新型爐缸內襯已經在宣鋼9號、沙鋼1號高爐得到實際應用。在宣鋼9號高爐使用6年后,環形炭磚和陶瓷杯幾乎未受到侵蝕,獲得了明顯的使用效果。瑞爾公司已就此新型爐缸內襯提出了專利申請(201210148028.0,201220214932.2)。
1 問題的提出
現代高爐建設中,為給越來越長的壽命目標奠下良好的技術基礎,爐缸內襯中炭磚和陶瓷杯耐材的技術性能、爐缸內襯的結構始終是建設者的關注焦點,成為形式和品種取舍的重要依據。主要的關注點有:
爐缸側壁用炭磚的熱導率、抗鐵水侵蝕性、抗堿性等是這些材料的性能焦點。根據含碳制品在爐缸環境下的侵蝕機理,若炭磚的工作溫度足夠低時,鐵水的滲透與溶蝕、堿金屬的滲透與侵蝕速率等都會處在較低的程度,甚至停滯。
由經典的傅里葉導熱定律可以分析出影響炭磚內部固定一點溫度的因素:
Q=(λ×(Tn+1-Tn))/S
Tn=Tn+1-Q×S/λ
其中:Q:炭磚傳熱方向的熱通量,w/m.k;
λ:炭磚的導熱系數,w/m.k ;
Tn:炭磚內固定一點的溫度,℃;
Tn+1:炭磚的熱面溫度,℃;
S:炭磚內固定一點到熱面的距離,m,在此為常量;
由此可見,降低炭磚的工作溫度Tn的途徑有三:1.加強對炭磚的冷卻,使得通過炭磚的熱流強度或稱熱通量Q提高;2.進一步提高炭磚的導熱系數λ,以期在足夠的冷卻強度下獲得更高的熱流強度;3.努力降低碳磚的熱面溫度Tn+1。
無論是對于一座已有的高爐或者新建的高爐,調整其爐缸冷卻強度的范圍總是有限的,而且是需要付出相當的經濟代價的。所以,在其它條件未改變時,難于通過加強冷卻來明顯降低炭磚的工作溫度。炭磚的導熱率是由其制造工藝技術所決定的固有物理性質,如現代主流微孔、超微孔炭磚的導熱率一般為13~20(w/m.k),難于進一步提高。石墨磚或者半石墨磚雖能達到更高的導熱率,但這些材料的抗鐵水溶蝕性差,不能用作爐缸內襯的工作層。于是,通過降低炭磚的熱面溫度來實現降低炭磚工作溫度的途徑是十分值得探討的。因此需要研究:
問題1,如何盡可能地降低炭磚的熱面溫度,進而降低炭磚的工作溫度,使得鐵水、堿金屬和水蒸氣等對炭磚的破壞受到抑制?
爐缸陶瓷襯體具有的隔熱性,能夠在一定周期中降低炭磚熱面的溫度。然而,這只是對問題1的部分答案。一般情況下,較好的爐缸陶瓷杯能將炭磚熱面的溫度控制在600~700℃,具體決定于陶瓷杯所用結構、厚度和材料性能等。在各決定因素中,陶瓷杯的材料厚度是占有最大權重的參數。陶瓷杯厚度減薄,爐缸炭磚熱面溫度也隨之逐漸上升。因此需要研究:
問題2,如何盡可能地在相當長的周期中將炭磚的工作溫度、或者熱面溫度保持在較低狀態?
2 解決問題的技術方案
前已述及,降低炭磚工作溫度的三個主要因素中,進一步提高爐缸冷卻強度和炭磚導熱率受到較大的限制??梢姡俳档吞看u熱面側的工作溫度是技術方案的關鍵。再者,實際應用中的陶瓷襯體的厚度總是隨冶煉進程而逐漸減少,炭磚的熱面溫度隨陶瓷杯厚度減薄而升高。因此,②顯著弱化炭磚熱面溫度對陶瓷襯體厚度的關聯性是技術方案的又一關鍵。這兩個技術關鍵的實質是隔熱。在爐缸炭磚與陶瓷襯體之間設置性能適宜的隔熱層時,隔熱層可減少通過陶瓷襯體傳遞到炭磚熱面的熱量。若隔熱層的導熱率較陶瓷襯體的導熱率呈數量級降低時,炭磚熱面溫度對陶瓷襯體厚度的敏感性即會得到降低。
根據上述技術關鍵與原理,研究設計了含有隔熱夾層的新型爐缸內襯,結構示意見圖1。這種新型爐缸內襯中,爐缸冷卻壁前沿仍然砌筑環形炭磚,爐內側設置陶瓷襯體,在環形炭磚與陶瓷襯體之間為隔熱層。

從理論上看,具有一定強度、導熱率較低的隔熱材料均可用作隔熱層。但是考慮到隔熱夾層位于高爐爐缸的特殊環境,所以構成隔熱夾層的材料應該具有很好的抗鐵水等的侵蝕性、體積密度≥3g/cm3和空隙率≤10%的致密性、綜合導熱率≤0.5w/m.k等技術特性。不言而喻,不同的隔熱層會有不同的使用效果。將不致密、抗鐵水侵蝕和滲透性不好的、導熱率高的材料用作隔熱夾層時,非但達不到預期的使用效果,反而會影響爐缸的安全與壽命。由特種材料構成的隔熱夾層已經得到了長期的實際應用,獲得優秀的使用效果。
3 新型內襯的技術特性
圖1所示的新型爐缸內襯中的隔熱夾層,改變了傳統形式的爐缸內襯的傳熱條件和溫度分布,使其具有了不同于傳統形式內襯的技術特點。
3.1 磚襯溫度更加有利于延長內襯壽命
環形炭磚與陶瓷襯體之間設置了熱阻較大的隔熱層后,爐缸磚襯的溫度分布較沒有隔熱層時的分布更加合理。主要為:
1)通過爐缸內襯的熱通量下降。
2)環形炭磚的熱面溫度顯著降低,炭磚的平均工作溫度下降。
3)陶瓷襯體的冷面溫度上升,熱面溫度保持不變,陶瓷襯體上的溫度梯度,亦即陶瓷襯體承受的熱應力顯著降低。
上述三個主要方面因素的變化程度與高爐容積、爐襯材料特性以及冷卻系統的設計均有關聯。以2500m3級高爐為例,按正常技術配置,推測了傳統形式的爐缸內襯、含隔熱夾層新型爐缸內襯的溫度分布情況。圖2是在環形炭磚與陶瓷杯襯體之間未設置隔熱夾層的傳統形式爐缸內襯的溫度分布,圖3是在環形炭磚與陶瓷襯體之間設置了隔熱夾層時的新型爐缸內襯的溫度分布。上述溫度分布的推測中,選用的主要邊界參數為:
1)工藝條件,鐵水溫度:1500℃;鑄鐵冷卻壁、冷卻水溫度33℃;
2)環形炭磚,厚度:950mm、導熱率:14~16w/m.k;
3)陶瓷襯體,厚度:350mm、導熱率:3.5 w/m.k;
4)隔熱層,厚度:60mm、導熱率:0.5w/m.k。

1-陶瓷杯,2-炭磚,3-碳搗料,4-冷卻壁
圖2 傳統形式爐缸內襯的溫度分布

1-陶瓷杯,2-隔熱夾層,3-炭磚,4-碳搗料,5-冷卻壁
圖3 新型內襯的溫度分布例
比較圖2、圖3,可以看到:
1)通過新型爐缸內襯的熱通量較傳統形式的爐缸內襯降低了~2020w/m2。
2)新型爐缸內襯的陶瓷杯的冷面溫度為812℃,較傳統形式的爐缸內襯的陶瓷杯冷面的610℃提高了202℃。
3)新型爐缸內襯的炭磚的熱面溫度為453℃,較傳統形式的爐缸炭磚熱面的610℃降低了157℃,平均工作溫度降低了~89℃。
3.2 陶瓷襯體、炭磚的熱應力降低
如前所述,在爐缸環形炭磚與陶瓷襯體之間設置隔熱夾層后,炭磚的熱面溫度和平均工作溫度得以降低,陶瓷襯體的冷面溫度與平均工作溫度提高。這樣,環形炭磚、陶瓷襯體在熱傳遞方向上(即最大溫差方向上)的溫度梯度得以減小,即環形炭磚、陶瓷襯體在工作中承受的熱應力下降。表1,是前例中炭磚、陶瓷襯體的溫差比較表。
表1 環形炭磚、陶瓷杯襯體的溫度梯度
項 目 | 傳統內襯 | 隔熱夾層內襯 | ||
炭磚 | 陶瓷杯 | 炭磚 | 陶瓷杯 | |
內襯厚度(mm) | 950 | 350 | 950 | 350 |
熱面溫度(℃) | 610 | 1350 | 453 | 1350 |
冷面溫度(℃) | 107 | 610 | 87 | 812 |
冷熱面溫差(℃) | 502 | 740 | 365 | 538 |
溫度梯度(℃/cm) | 5.3 | 21.2 | 3.8 | 15.4 |
表1可見,隔熱夾層內襯中的炭磚、陶瓷襯體的溫度梯度較傳統形式降低了27%。從材料溫度應力與溫度梯度的正比關系、材料線膨脹系數和彈性模量無明顯變化等可知:含隔熱夾層的新型爐缸內襯中的炭磚、陶瓷襯體所承受的溫度應力較傳統形式減低了27%。尤其是陶瓷襯體的溫度梯度、熱應力的大幅降低,將顯著地延長使用壽命。
3.3 陶瓷杯厚度對炭磚溫度的影響性降低
圖4、圖5為前例的爐缸側壁內襯在傳統結構、新型結構下,熱通量、炭磚熱面溫度與陶瓷襯體厚度的關系。

圖4 熱通量與陶瓷杯厚度關系

圖5 炭磚熱面溫度與陶瓷杯厚度關系
從圖4、圖5可見,具有隔熱夾層的新型結構中,熱通量、炭磚熱面溫度隨陶瓷襯體厚度減少而上升的速率低于傳統形式的爐缸內襯。并且,隨著陶瓷襯體厚度減少到一定程度之后,兩種形式之間的差別愈加明顯。在具有隔熱夾層的新型結構中,即使陶瓷襯體的厚度減薄至110mm,炭磚熱面溫度仍然低于700℃;而傳統結構中,陶瓷襯體厚度減薄至260mm時,炭磚熱面溫度已達700℃??梢?,新型的爐缸內襯能在更長周期中保護炭磚免予受到堿金屬等的侵蝕。
3.4 降低堿金屬、Zn等侵蝕氣態的堿金屬、Zn等存在于爐缸部位,并明顯侵蝕爐缸碳質內襯已在近年的高爐實踐中得到進一步證實。而且,隨著高爐原燃料品質的降低,入爐的堿金屬、Zn的數量較過去明顯上升,且在很長一段時期中都難以得到根本改觀,高爐長壽變得更加艱巨。
上述隔熱夾層降低炭磚熱面溫度至堿金屬、Zn的氣化溫度以下,它們再難以氣態滲入至炭磚,從而可減輕高爐長壽目前乃至將來很長一段時間內面臨的堿金屬、Zn的侵蝕問題。
3.5 降低了高爐系統的能源消耗
從以2500m3高爐為例的圖2、圖3和圖4可以看到,具有隔熱夾層的新型爐缸內襯的熱通量較傳統形式的爐缸內襯的熱通量降低了2020w/m2以上,也即減少了爐缸的熱損失。以11500mm爐缸直徑、4700mm爐缸高度等工藝條件,熱通量降低2020 w/m2測算時,每年降低的能耗相當于節省了434萬度電,折合~350萬元直接經濟效益。
4 新型爐缸內襯的實踐應用
4.1 新型爐缸內襯在宣鋼9高爐的應用
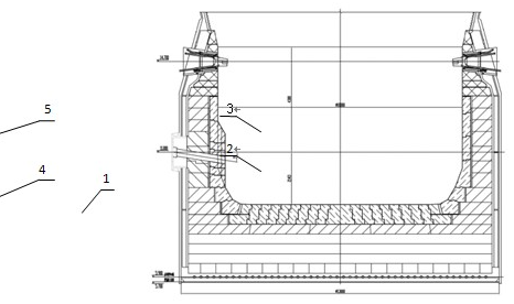
宣鋼9高爐的有效容積為1940m3,于2005年10月24日點火投產。該高爐采用整體式陶瓷杯、優質炭磚構成的爐缸、爐底內襯。圖6為爐缸爐底內襯結構示意圖。
爐底、爐缸內襯中,爐底最下層為石墨磚,爐底最上層為微孔炭磚,它們之間為三層半石墨質炭磚;爐缸側壁共設置10層微孔炭磚,鐵口局部為超微孔炭磚。
爐底炭磚上沿設置雙向錯臺形狀的莫來石質大塊制品RL70MLC構成的“整體”陶瓷墊,采用同心圓互鎖方式砌筑的單層結構、高度為800mm;爐缸側壁的炭磚內側由RL89MNC材質的大塊灰剛玉砌為陶瓷杯襯體。
爐缸環形炭磚、陶瓷杯側壁之間設置由特種材料構成的“隔熱夾層”,隔熱夾層的厚度為60mm。

圖中:1-陶瓷墊,2-陶瓷杯壁,3-隔熱層,4-微孔炭磚,5-超微孔炭磚
圖6 宣鋼9高爐爐底、爐缸內襯結構示意圖
9號高爐投產之后,一直以較高的冶煉強度生產。磚襯測溫熱電偶監測到陶瓷墊下表面的溫度不超過500℃,鐵口以下的爐缸側壁炭磚的熱面溫度低于300℃、炭磚冷面檢測點的溫度~100℃。2011年10月22日,在鋼鐵市場比較低迷的環境下,9號高爐停爐檢修。此時,9號高爐已經安全運行2188天(5.99年)。圖7為停爐之前的2011年10月8日的磚襯實測溫度,圖8為降料面后觀察到的風口下沿環形炭磚和陶瓷杯實物。

圖中:數字為所在位置實測溫度(℃)
圖7 宣鋼9號高爐爐底、爐缸磚襯實測溫度(2011年10月8日)

圖8 宣鋼9號高爐爐缸炭磚、陶瓷杯使用6年時的實際狀態
從圖 8的炭磚、陶瓷杯壁的實物情況,可以看到這些部位的陶瓷杯壁在經過了6年的冶煉生產之后,幾乎未出現侵蝕,仍然保持為砌筑時的原始狀態。圖7所示的鐵口以下環形炭磚的熱面溫度不超過300℃,說明在隔熱夾層熱面側的陶瓷杯壁與爐缸上部的情況相似,幾乎未出現厚度減少。
更為可喜的是,從圖8所見的風口下沿爐缸環形碳磚,在經歷了近6年的使用以后,磚縫清晰干凈,完全看不到任何堿金屬或者水蒸氣通過的痕跡(通常堿金屬或者水蒸氣經過炭磚會留下標志性的白色斑跡)。這說明炭磚外側的陶瓷杯,在“隔熱夾層”的幫助下,很好的實現了對炭磚的“隔絕”保護。
陶瓷杯在冶煉過程中,受到冶煉產物的化學侵蝕、機械磨損和熱破壞等的綜合作用。這些綜合作用會使得陶瓷杯的工作厚度逐漸減薄,隨之炭磚熱面溫度逐漸上升。宣鋼9號高爐的爐缸內襯的結構和材質與其它高爐基本相似,唯一的特點是在環形炭磚和陶瓷杯壁之間設置了“隔熱夾層”。經歷6年運行后的陶瓷杯厚度幾乎未曾減薄的上述結果,說明該高爐的“隔熱夾層”充分發揮了前述功效。
4.2 新型爐缸內襯在沙鋼1號高爐的應用
沙鋼1號高爐的有效容積為2500m3,大修后于2011年3月20日點火投產。該高爐本次大修時采用整體式陶瓷杯、優質炭磚形式的爐缸、爐底內襯,見圖9。

圖中:1-陶瓷墊,2-陶瓷杯壁,3-隔熱層,4-超微孔炭磚
圖9 沙鋼1高爐爐底、爐缸內襯結構示意圖
爐底最下層為石墨磚,其上2層為超微孔炭磚;爐缸中下部為8層超微孔炭磚,爐缸上部為3層微孔炭磚。
爐缸環形炭磚、陶瓷杯側壁之間設置由特種材料構成的“隔熱夾層”,厚度為60mm。
1號高爐投產之后,一直以較高的冶煉強度生產。磚襯測溫熱電偶監測到爐底最上層炭磚下表面溫度在250℃以下,爐缸側壁炭磚冷端檢測點的溫度在150℃以下(測溫點據冷卻壁熱面距離~220mm)。圖10為2011年11月21日的磚襯實測溫度。

圖中:數字為所在位置實測溫度(℃)
圖10 沙鋼1號高爐爐底、爐缸磚襯實測溫度(2011年11月21日)
圖10所示實測溫度表明,雖然該高爐投產時間不到1年,但實測溫度與前述的宣鋼9號高爐的監測結果的特點十分相似,較好地重現了“隔熱夾層”在宣鋼9號高爐的使用情況。預計正常情況下,沙鋼1號高爐也將取得類似宣鋼9號高爐的使用效果。
5 結語
1)在爐缸環形炭磚與陶瓷襯體之間設置的隔熱夾層降低了環形炭磚的熱面溫度和平均溫度,減小了環形炭磚的冷熱端溫差和應力,延長了環形炭磚的使用壽命。
2)環形炭磚和陶瓷襯體之間的隔熱夾層提高了陶瓷襯體冷端溫度和平均溫度,減小了陶瓷襯體中的溫度梯度,并因此降低了作用在陶瓷磚襯上的溫差應力,可延長陶瓷杯的使用壽命。
3)隔熱夾層降低了環形炭磚溫度與陶瓷襯體厚度變化的關聯度。環形炭磚熱面溫度隨陶瓷襯體厚度減薄而上升的速率低于傳統的炭磚-陶瓷杯結構,延長了陶瓷杯保護炭磚的有效期。
4)隔熱夾層降低了環形炭磚熱端溫度,減輕了堿金屬、Zn以氣態形式滲入、侵蝕炭磚的危險性。因此,在目前和未來很長一段時期內的原燃料質量降低情況下,對保證高爐安全、實現長壽極為有利。
5)測算2500m3級高爐的含有隔熱夾層的新型爐缸內襯的熱通量(熱損失)較傳統形式爐缸內襯降低了~27%,可年節電434萬度,具有明顯的企業效益和社會效益。
6)宣鋼9號高爐于2005年10月采用了含隔熱夾層的新型爐缸內襯,投產生產6年后,爐缸炭磚和陶瓷杯幾乎未受到侵蝕,基本保持為砌筑時的原始狀態。投產約1年的沙鋼1號高爐的實測溫度也較好地重現了宣鋼9號高爐的使用情況,預計也將取得相似的卓越使用效果。
上一篇:高爐鐵口區域安全與壽命的主要對策
下一篇:石鋼0號高爐長壽實踐
